7月7日,证监会官网显示在线股票配资助手,国产DRAM内存芯片大厂长鑫科技集团股份有限公司(以下简称长鑫存储)启动首次上市辅导,中金公司、中信建投担任辅导机构。

成立9年
估值高达1400亿元
公开资料显示,长鑫存储成立于2016年,作为国产DRAM存储芯片企业,主要从事DRAM存储芯片的设计、研发、生产和销售,其产品应用于智能手机、PC等场景。
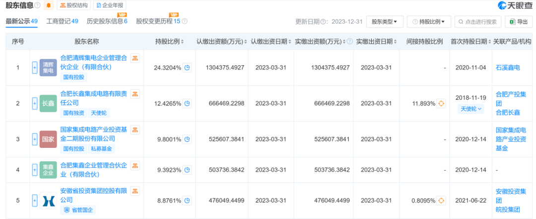
股权关系方面,长鑫存储注册资本高达601.9亿元,目前无控股股东,其第一大股东为合肥清辉集电企业管理合伙企业(有限合伙),直接持有公司21.67%股份。
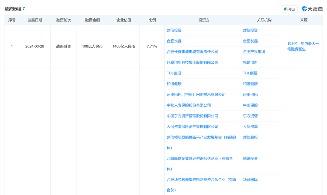
天眼查显示,自2018年启动天使轮融资,长鑫存储的融资历程持续吸引各路资本涌入。截至2024年3月,公司已完成7轮融资,吸引了包括合肥产投、兆易创新、小米科技、美的、阿里巴巴等多家明星创投机构,还有中国人寿、中邮保险等多家险资机构,融资额高达数百亿元,最新投后估值高达1400亿元。

根据证监会发布的2024年新规,辅导期原则上不少于3个月,若进展顺利,预计最快于2025年底或2026年初可提交IPO申请。
中国“最牛风投城市”再创奇迹
在业内人士看来,长鑫存储的发展速度堪称“中国半导体奇迹”。
2017年,长鑫存储合肥基地一期开工,次年设备搬入,并于2019年开始量产8GB DDR4产品,成功打破三星、SK海力士和美光三巨头的垄断。
2023年11月,长鑫首次推出LPDDR5系列DRAM产品,其中包括12GB的LPDDR5颗粒,POP封装的12GB LPDDR5芯片及DSC封装的6GB LPDDR5芯片,其12GB版本LPDDR5先后在小米等国产品牌上完成机型验证。
2024年,其DDR4产品已占据全球DRAM市场约5%的份额。市场分析机构Counterpoint预测,2025年底长鑫存储的DRAM全球市场份额将从一季度的6%提升至8%,DDR5和LPDDR5产品占比分别增至7%和9%,成为全球增长最快的存储芯片厂商。
而这个奇迹的背后是一个优秀创业者与“中国最牛风投机构”的故事。
据此前媒体报道,长鑫存储创始人朱一明,出生于1972年,清华大学本科、硕士,在美国纽约州立大学石溪分校获得物理学硕士学位和电子工程系硕士学位,2000年毕业后,朱一明留在了美国硅谷打拼。
在硅谷这片创业沃土,朱一明对自主创业也跃跃欲试。2005年,朱一明从硅谷的高薪职位离职,带着众多清华校友和其他投资人拼凑起来的资金,回到北京,成立了北京芯技佳易微电子科技有限公司(以下简称芯技佳易),从事存储器芯片的生产研发。
芯技佳易就是大家后来熟知的A股上市公司“兆易创新”的前身。
2016年,创业10年的朱一明带着兆易创新登陆了上交所主板。虽然兆易创新在中国存储市场上取得了一定的地位,但是想吃到存储器最大的市场份额,进军DRAM是必然选择。
根据WSTS数据,2021年全球存储器市场规模为1554.6亿美元,从下游市场结构来看,DRAM和NAND占绝大部分市场份额,二者下游市场规模占比分别为56%、41%,NOR Flash占比约为2%左右。

并购北京矽成半导体未果后,朱一明决心自己做一家DRAM企业,而这次创业再次成就了一段佳话。
此前,合肥一直是家电之城,而且是以组装为主,缺乏核心竞争力,拥有先进的半导体技术是实现家电产业升级的必由之路,为此,合肥政府紧盯相关前沿产业及产业链和目标企业。
当各大城市都在争抢富士康的时候,合肥引进了京东方;当新能源车还在各大品牌混战时,合肥下重注向蔚来汽车“输血”超过百亿元资金。
听说朱一明有意进军DRAM,合肥政府很快就找上了他。据合肥产投总经理袁飞透露,长鑫存储一期设投入180亿元,由合肥市政府出3/4的资金,兆易创新出剩下的1/4资金,不过以国际三大DRAM巨头之一的韩国三星半导体为参考,2021年其全年资本支出就达到300亿美元,而长鑫存储一期的180亿元投入可以说只是其“万里长征”的第一步,后续的投资若没有社会资本的参与,仅靠合肥政府是很难支撑下去的。
很快,长鑫存储迎来建信股权、国家大基金二期的青睐,在40多家投资机构的接力支持下,终于迎来“中国芯”的“逆袭”。
韩国《电子新闻》与《朝鲜商业》援引Omdia数据称,长江存储2025年DRAM晶圆产量预计达273万片,较2024年的162万片激增68%。此增速远超此前20%的预测值三倍有余。在扩大DDR4生产的同时,其DDR5产能持续爬坡,对传统巨头形成夹击之势。
天眼查显示,合肥产投控股的合肥长鑫集成电路有限责任公司持股12.42%,是长鑫存储的第二大股东,国家大基金二期是第三大股东。此外安徽省投资集团也持股8.88%,为第五大股东。
长城配资提示:文章来自网络,不代表本站观点。